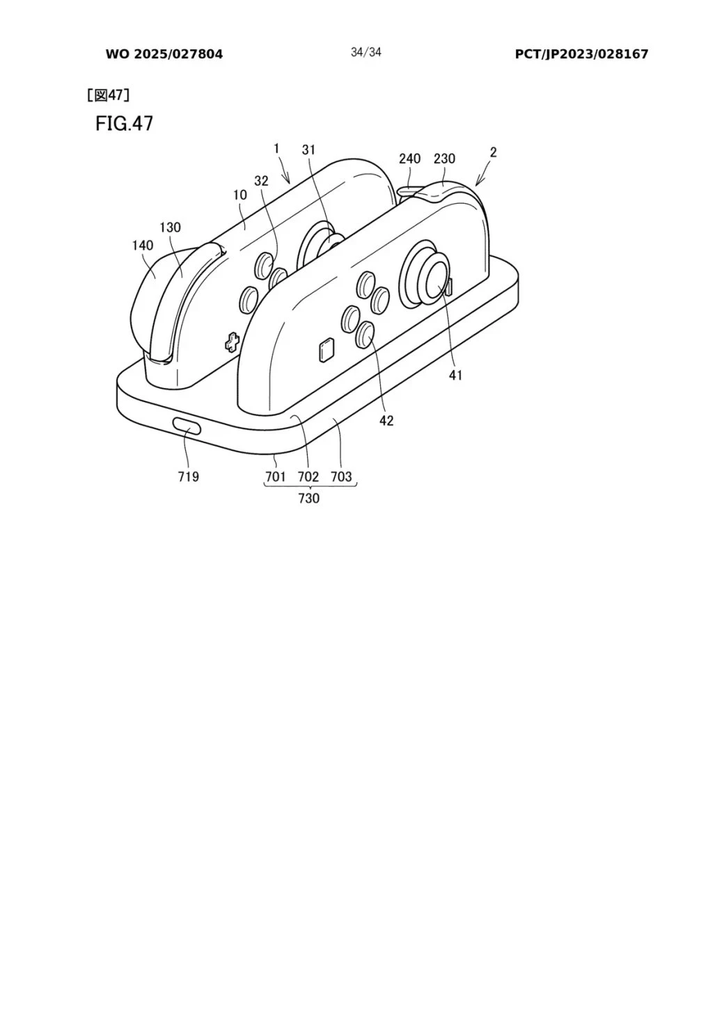
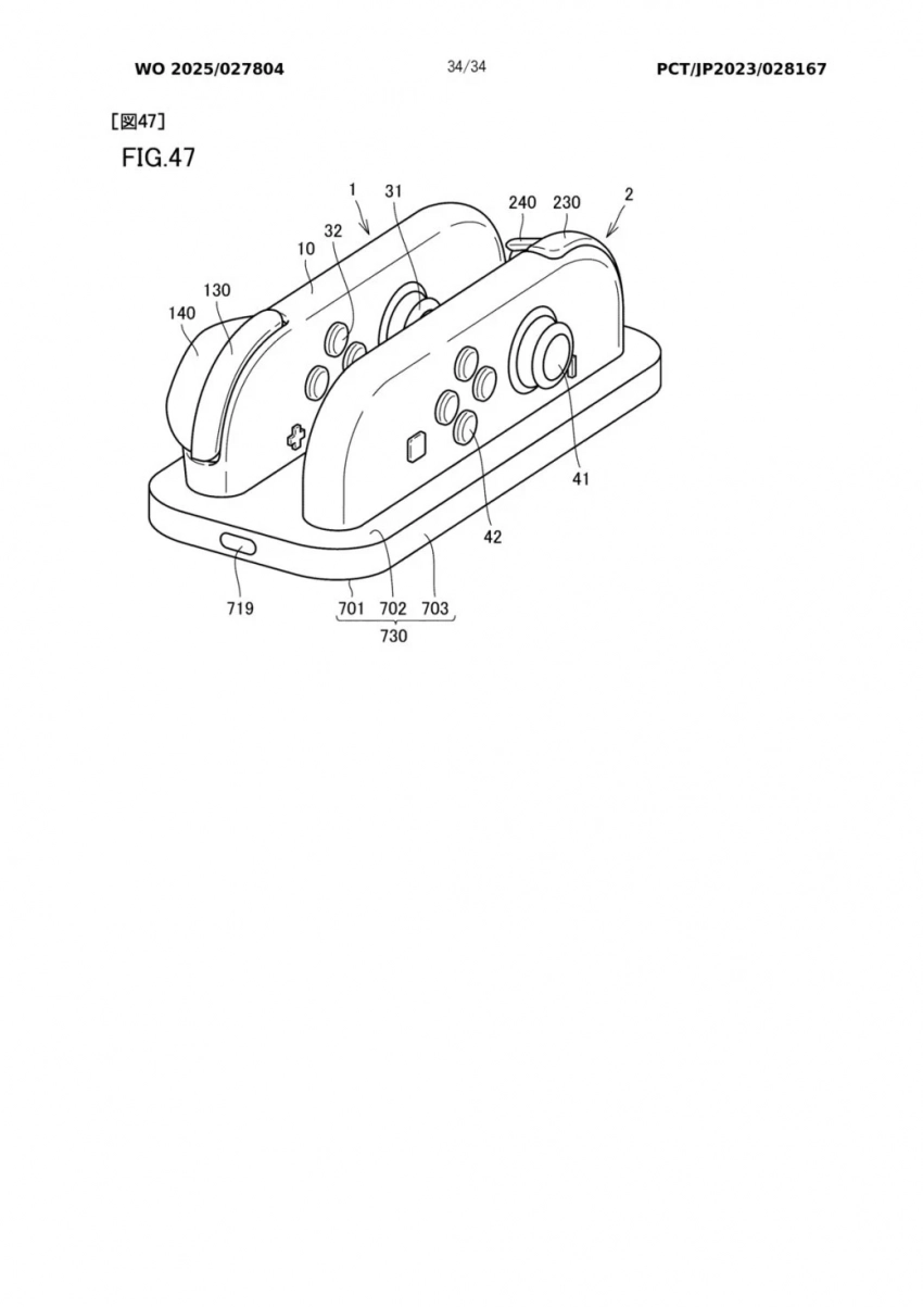
Nintendo запатентовала джой-коны с функцией мыши в Switch 2

Согласно опубликованному патенту, каждый джой-кон оснащён оптическим сенсором, который отслеживает движение по поверхности, аналогично компьютерной мыши. Игроки смогут управлять играми с помощью одного или двух контроллеров, используя их для точного наведения.
5 фотоАналитики предполагают, что такая технология будет полезна в стратегических играх, например, Civilization 7, а также в шутерах вроде Call of Duty и Halo, которые Microsoft может портировать на консоль. Более того, двойное использование контроллеров в режиме «двух мышек» может раскрыть необычные игровые механики, например, управление роботом или механическими конструкциями.
Вслед за этим компания запантентовала и остальные составляющие консоли: например, внешний вид отстегивающегося механизма джой-конов и, вероятно, зарядную станцию самой Switch 2.
2 фотоNintendo планирует подробнее рассказать об этой функции и других особенностях Switch 2 на предстоящем Nintendo Direct 2 апреля. Ожидается, что компания представит особенности консоли, линейку стартовых игр и объявит дату выхода устройства.
Обсудим?
Смотрите также:
